PA旗舰厅官网

中文 EN
返回
智慧型多通道重量变送器TR700M
智慧型多通道重量变送器TR700M
智慧型多通道重量变送器TR700M
所属分类:称重测量产品
产品详情

特点

  • 中文显示界面,人机交互友好;

  • 35mm导轨式安装,集成多通道称重,减少电柜体积;

  • 各通道之间全电气隔离,有效阻隔各秤台之间地电平差异等引起的干扰,从而具有极强抗干扰性能;

  • 各通道独立运行,可靠性高;

  • 支持ProfiNET\ModbusTCP\CClinkIE Field Basic等工业以太网接口,支持交换机功能,实现手拉手总线式连接。其中ProfiNET支持环网;

  • 支持第2路RS485通讯,可接触摸屏做显示扩展;

  • 可通过网页配置仪表,方便用户操作;

  • 支持最多达到4个仪表级联扩展:1个仪表做主站,带4个仪表做从站,组成最多30个秤的多秤。此时上位机只需和主站仪表通讯1次,就可以完成多秤的1次读取。


产品选型

智慧型多通道重量变送器TR700M

技术参数

项目

技术参数

电源

DC24V(DC18~DC36V)

消耗功率

≤15W

工作温度

-5℃~45C(23℉~113F)

湿度

≤90%RH(无凝结水)

通讯接口

第1路为ProfiNET/ModbuTCP/CClinkIE Field Basic三选一。第2路为RS-485/CAN二选一.

通道数

2 通道、4 通道、6通道可选

适用的传感器类型

所有电阻应变式称重传感器

传感器激励电压

DC10V

每通道带载能力

4个 350Ω标准传感器负载

传感器灵敏度

0.5~3.2mV/

仪表灵敏度

0.50μV/格~200μV/格

输入阻抗

DC500V 时,两个端子之间的阻抗不能小于100MΩ

可调零位电压范围

(0.05~0.9)*最大mV值

有效输入电压范围

0.05mV~32mV

温度系数

≤(读数的 0.0008%+0.3 分度)/C

非线性误差

≤满刻度的 0.005%

采样方法

Delta-sigma 方法

采样速率

最高每秒200次

内部分辨率

1/16000000


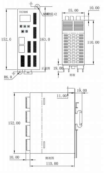
外形尺寸图(单位:MM)

智慧型多通道重量变送器TR700M

填写信息获取相关资料

img

关注公众号

img

关注视频号

期待您的致电

售后服务:0756-8150114

销售专线:400-7808-806

期待您的来信